|
|
|
| 地下隧道工程中的防水施工技术 |
|
|
地下隧道工程中的防水施工技术
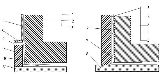
1、地下隧道工程中的防水施工技术方案设计前提要求 1)了解施工地地下水的运动规律及水压力。 2)工程防水标高确定要合理; 3)要考虑上层滞水危害。 4)考虑地下水含有一些有害的物质,会侵蚀混凝土结构。 5) 考虑周围环境变化带来的渗漏隐患 2、地下隧道工程中的防水施工技术方案设计注意几个问题 1)不能依靠混凝土的结构自防水; 2)在隧道底板和侧墙要设置贯穿整个隧道的防水层; 3)在接缝处增加了防水措施; 4)并且顶板不能采用了预制板。这些都是引起工程渗漏的直接隐患。 5)选择适合工程实际情况的防水材料;防水材料的性能和如何应用应充分的认识; 3、流金®地下隧道工程中的防水施工技术方案设计 1)内外防水层的设置 防水技术规范必须设置附加防水层、对于新建工程内外防水层设置、通过防水材料在结构的迎水面形成一个屏障,拒水于工程结构主体以外,对于老工程的维修、改造,通常采用增设结构内防水层的措施,以达到防水目的。 2)多道设防两者优势互补设置 防水层必须进行多道设防,将常用的卷材类防水材料与涂料类防水材料配合使用,两者优势互补,达到防渗漏的目的。 3)接点防水 A)变形缝 中埋式止水带与遇水膨胀橡胶条、嵌缝材料复合使用。见下图:

B)施工缝 注意保证新老混凝土的紧密结合,确保施工缝处膜板不漏浆 4)壁板的防水 地下连续墙与防水混凝土内衬应进行复合衬砌,为防止产生裂缝,留下渗漏隐患。可在两层衬砌中设置一道防水板,不仅增加了一道防水防线,而且也使内衬混凝土干缩时受的约束大大减少,使内衬混凝土的裂缝变少,提高结构主体的自防水能力,见图2、

同时在地下连续墙上内外表面涂刷水泥基渗透结晶型防水材材料的办法,见图 3。

5)底板的防水 底板的防水工艺如下图3所示:

6)顶板的防水 顶板的防水工艺如下图4所示:

| |
| |
|
|
|
|
江苏新大高空工程有限公司是中国工业防腐蚀协会的会员单位,是经江苏省建筑工程管理局审定的专业承包企业,具备国家防腐保温资质贰级、高空作业叁级、建筑防水叁级、安全生产许可证、壹级高空防腐施工资质、一级高处悬挂作业资格的专业化公司。公司组建于90年代初,1999年8月由原来的国有企业改制为股分有限公司,经过十多年的艰苦创业,现已发展成为领导班子过硬、技术力量雄厚,具有较强的经济实力和高素质的施工与管理队伍。 企业信誉和科技含量均在国内同行业中处 于领先地位,并率先通过了国际质量体系认证。
公司注册资本1066万,目前下辖十二个工程处,从业人数380人。具备各类专业技术职称的60人,其中高级工程师1人,工程师、经济师、会计师共28人,项目经理11人,拥有大中型机械设备168台(件),年施工产值近8000万元。公司现有6个驻外办事处:华能南京电厂办事处、扬州第二发电厂办事处、 福建雪津啤酒办事处、 广船国际办事处、仪征化纤办事处、唐山办事处。施工网点遍及全国各地二十多个省、市、区,涉及石油、化工、冶金、电力、能源、航天、建材、国防、交通、煤炭、医药、轻纺、食品、港口等十多个行业,承揽了大量的地下隧道工程中的防水施工技术 等工程,公司自组建以来,坚持走技术革新之路,依靠丰富的施工经验、先进的施工技术和科学的网络化管理手段,先后承接了系统内各类高空防腐检修、防水堵漏、化学锚固、烟囱新建、环保脱硫等工程近万项,其中有高大难度工程和国家重点工程,都以工程质量好、安全率高,赢得了广大用户的一致好评。
公司将坚持以人为本,全面构建和谐发展的新环境,建立现代企业制度,规范运作,坚持走科技兴企、质量兴企之路,遵循“质量第一、业主至上、信守合同、优质服务”宗旨,“团结协作、严谨求实、优质高效、开拓创新”的企业精神,精心打造精品工程,向新老客户提供最优质满意的服务。 |
|
|
| |
|